爱上海123论坛,高三妈妈组织微信群被投诉,深圳休闲会所有波推
Toggle navigation
重庆川流机械有限公司
网站首页
公司简介
企业文化
资质证书
公司业绩
汇款信息
重点客户
产品展示
润滑系统
润滑设备配件
新闻动态
应用案例
文档中心
联系我们
欢迎光临
重庆川流机械有限公司
官网!您的肯定是我奋斗的目标!
欢迎光临
重庆川流机械有限公司
官网!
新闻动态
润滑常识
公司动态
机械新闻
设备润滑之油环与油链润滑
2011-03-08 08:49
关键词:设备润滑,油环,油链润滑
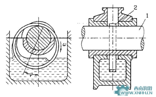
依靠套在轴上的油环或油链将油从油池中带到润滑部位。
如图所示,套在轴1上的油环2下部在油池中,当轴旋转时,靠摩擦力带动油环转动,从而把油带入轴承中进行润滑。
上一篇:设备润滑方式之飞溅润滑
下一篇:机床润滑系统常见故障维修
为您推荐
智能集中润滑系统输送用的润滑脂如何选
国内润滑技术公司的诞生
先进的供油系统:喷射式集中润滑
搞好矿山设备润滑的紧迫性
油气润滑和油雾润滑的比较
相关产品
主站蜘蛛池模板:
新龙县
|
天峻县
|
福贡县
|
湘乡市
|
古交市
|
仲巴县
|
巧家县
|
石泉县
|
南陵县
|
吉水县
|
银川市
|
宝丰县
|
安丘市
|
冕宁县
|
桦川县
|
芦溪县
|
凌云县
|
桃源县
|
洛宁县
|
泰宁县
|
健康
|
龙游县
|
民勤县
|
铁力市
|
全南县
|
苏州市
|
榆中县
|
临泽县
|
白山市
|
太仆寺旗
|
三门县
|
中超
|
七台河市
|
繁峙县
|
喀喇沁旗
|
嘉鱼县
|
定日县
|
沙雅县
|
邯郸市
|
绵阳市
|
云安县
|