爱上海123论坛,高三妈妈组织微信群被投诉,深圳休闲会所有波推
Toggle navigation
重庆川流机械有限公司
网站首页
公司简介
企业文化
资质证书
公司业绩
汇款信息
重点客户
产品展示
润滑系统
润滑设备配件
新闻动态
应用案例
文档中心
联系我们
欢迎光临
重庆川流机械有限公司
官网!您的肯定是我奋斗的目标!
欢迎光临
重庆川流机械有限公司
官网!
新闻动态
润滑常识
公司动态
机械新闻
设备润滑方式之油环与油链润滑
2012-03-02 09:06
关键词:设备润滑,润滑方式,油环,油链润滑
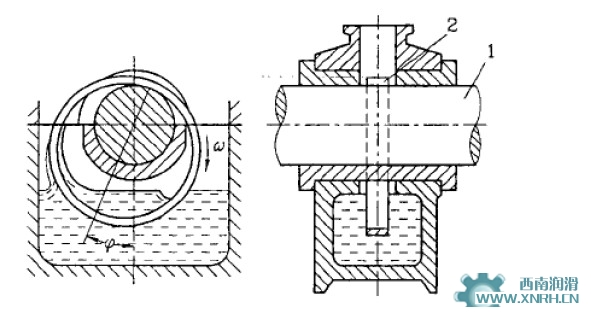
油环与油链润滑依靠套在轴上的油环或油链将油从油池中带到润滑部位。
如图所示,套在轴1上的油环2下部在油池中,当轴旋转时,靠摩擦力带动油环转动,从而把油带入轴承中进行润滑。
上一篇:开式齿轮的传动与润滑
下一篇:抵抗式集中稀油润滑系统组成及特点
为您推荐
智能集中润滑系统输送用的润滑脂如何选
国内润滑技术公司的诞生
先进的供油系统:喷射式集中润滑
搞好矿山设备润滑的紧迫性
油气润滑和油雾润滑的比较
相关产品
主站蜘蛛池模板:
杭锦旗
|
黄骅市
|
休宁县
|
桃江县
|
桐乡市
|
德庆县
|
麻栗坡县
|
营口市
|
教育
|
屯留县
|
剑川县
|
东丽区
|
晴隆县
|
河西区
|
淮阳县
|
新巴尔虎右旗
|
武清区
|
台东市
|
贺州市
|
九江县
|
永定县
|
商南县
|
临澧县
|
阿拉尔市
|
宜城市
|
安康市
|
民乐县
|
马公市
|
庆阳市
|
老河口市
|
湘阴县
|
长泰县
|
宜川县
|
阿克苏市
|
张家港市
|
南雄市
|
衡阳市
|
建平县
|
安阳县
|
九龙坡区
|
德江县
|